柠萌影业申请注册“三十而已空山茶”商标 国际分类涉及食品、方便食品
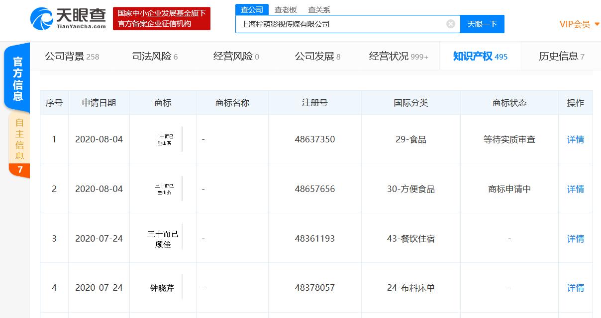
天眼查APP显示,近日,上海柠萌影视传媒有限公司新增商标信息,名称为“三十而已空山茶” ,国际分类涉及食品、方便食品,商标状态显示为“等待实质审查”及“商标申请中”。
上海柠萌影视传媒有限公司成立于2014年7月,定代表人为苏晓,注册资本约529.77万人民币,经营范围包括广播电视节目制作、发行、电影发行、影视文化艺术活动交流策划、舞台艺术造型策划、文学创作等。
据红星资本局报道,电视剧《三十而已》的出品方即上海柠萌影视传媒有限公司(简称“柠萌影业”),《好先生》、《小欢喜》、《小别离》等影视剧也是由其制作。
另据人民政协网报道,热播剧《三十而已》中,女主角顾佳接手了一家濒临破产的茶厂,从初入茶山时的失望,到挖掘当地生态有机的特色,再到为“茶香也怕巷子深”寻找新出路,将剧情引入了一个为帮扶茶区奔波的创业高潮。在剧中,顾佳将茶命名为“空山茶”。
值得注意的是,天眼查APP显示,今年7月,上海柠萌影视传媒有限公司还申请了多个与电视剧《三十而已》相关的商标,包括“三十而已顾佳”、“三十而已”、“钟晓芹”、“王漫妮”等。


郑重声明:用户在发表的所有信息(包括但不限于文字、图片、视频、音频、数据及图表)仅代表个人观点,与股民学堂立场无关,所发表内容来源为用户整理发布,本站对这些信息的准确性和完整性不作任何保证,不对您构成任何投资建议,据此操作风险自担。
- 上一篇:时代变局!中国城市人口即将大洗牌!
- 下一篇:这个818理财节 券商“玩嗨了”
